單座調節閥軟密封的設計意義
1 調節閥介紹
調節閥(也稱為控制閥control valve)是過程控制回路的終端控制元件,但也是系統過程控制回路中較為薄弱的一個環節。調節閥按調節型式可以分為調節型、調節切斷型和切斷型3類,其中調節切斷型和切斷型的調節閥,泄漏量須達到ASME B16. 104VI (即氣泡 )的要求。調節切斷型調節閥通常采用軟密封結構才能做到VI 泄漏量的要求。本文針對多數廠家都在生產的單座調節閥的軟密封結構設計的技術細節進行分析探討。
2 調節閥結構分析
2.1 傳統的單座調節閥軟密封結構設計
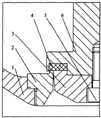
20世紀80年代開始,隨著我國改革開放政策的貫徹和落實,一些調節閥制造廠引進了國外調節閥廠商的技術和產品,使我國調節閥產品的品種和質量有了明顯提高。其中具有代表性的是日本山武公司的Cv3000系列調節閥,如Cv3000系列中的HTS單座調節切斷型調節閥(即軟密封)的典型結構(圖1)。調節閥的軟密封環通過閥瓣頭和螺釘鑲嵌到閥瓣柄中,閥座通過螺紋連接擰緊在閥體上。

1 閥體 2 閥座 3 閥瓣頭 4 軟密封環 5 螺釘 6 閥瓣柄
圖1 傳統單座調節閥軟密封結構
當閥門處于關閉狀態時,閥座的凸起表面嵌入到軟密封環中(軟密封環通常由聚四氟乙烯等彈性材料制成),該處的彈性材料變形包圍住閥座凸起表面,由此確保可靠的密封效果,同時閥桿也不至于受到過大的推力。由此可見,閥門在關閉時僅僅用適當的力就可以確保密封,而彈性材料本身也能夠持久地支承住這個關閉力。這一點對于開啟長期處于關閉的閥門特別有意義。由于彈性材料表面不會發生持久不變性變形,所以能保證閥座和閥瓣多次重復啟閉時的密封性。此外又因為嵌入彈性材料的閥瓣能夠修正密封副在同心度方面的較小偏差,所以對于閥瓣和閥座的制造位置精度要求可以較低。


但是,這種形式的軟密封結構也有一些弊端。 先是難于限定關閉力的大小,即使當閥瓣軟密封環接觸到閥座時,關閉動作也不能及時停止,因而使彈性材料容易出現永久性變形,尤其是當閥門長期處于關閉時,閥瓣軟密封環長期受到過載壓力而使其出現永久變形,開啟后再關閉時就容易失效。其次,在閥門開啟過程中,由于閥瓣的節流作用,使得閥門在剛一打開的短時間內出現介質的高速流動,此時軟密封環要承受很大的壓力降,這將對軟密封環表面產生沖蝕,造成其表面的迅速破壞。因此,該軟密封結構通常被限制在壓力降小于3MPa的場合下使用。
另外該結構在裝配、拆卸和維修方面也有極大的缺陷。 先軟密封環是通過閥瓣頭和螺釘擰緊嵌入到閥瓣柄中,為了保證螺釘不松脫,在裝配時通常要在螺釘上涂上合適的固化膠或者采用沖鉚、點焊的方法固定螺釘,這就給再次拆卸更換軟密封環時帶來極大的不便。其次是閥座采用螺紋連接,需要專用工裝才能夠裝配和拆卸,對于現場維修極為不便。
2.2 改進型軟密封結構設計
隨著工業技術的發展,用戶希望獲得更高質量的閥門,同時也要求提高閥門的使用、維修水平。這就對工程技術人員提出了新的要求,除了要精心設計出高質量和高水平的閥門,合理選用和正確操作之外,還要方便維修人員的維修和拆卸,方便快捷,使各類事故及維修時間降到低限度。于是,對于單座調節閥來說,就出現了圖2所示的改進型軟密封結構設計。在這種結構設計中,用金屬擋環和軟密封環代替了傳統結構中用螺釘固定嵌入式軟密封環的設計,用壓套和閥座密封墊直壓式結構設計代替了傳統結構中閥座采用螺紋連接的設計。這樣的設計優點是當閥瓣和閥座達到 后關閉位置時,閥瓣給閥座的部分力由金屬擋環承擔,并直接傳到閥座,這樣就排除了軟密封環因過載而損壞,而且金屬擋環還提供了一定的輔助密封作用。直壓式結構設計也改變了需要專用工裝才能拆卸的螺紋連接閥座設計,裝配與拆卸、現場維修與更換都十分方便。
改進型軟密封結構設計也存在一定的缺點。 先,軟密封環一旦失效,金屬擋環也只能起到暫時的密封,須要盡快更換。另外,如果介質中帶有固體顆粒時,極容易卡在閥瓣和閥座中間,妨礙了閥座的密封,會引起泄漏,繼而由于介質的高速沖刷而使閥座表面被沖蝕破壞。
2.3 新型軟密封結構設計
為了彌補上述結構的不足,出現了如圖3所示的新型單座調節閥軟密封結構設計。
新型結構中,密封副采用金屬密封和聚四氟乙烯彈性密封雙密封設計。金屬密封閥座可起支撐作用,防止軟密封環因壓力過大而被壓碎。軟密封環由彈性O形圈支撐并受到金屬壓圈的保護,附加的金屬壓圈免除了軟密封元件過載的危險,這樣就是經過50萬次的開關后還能做到氣泡 (VI )密封,點滴不漏。



圖4為閥門全關狀態,金屬密封與彈性密封同時作用,密封嚴密、可靠。
圖5為閥門全開狀態,彈性軟密封環恢復彈性。
在閥門剛剛打開的瞬間,在密封件外緣處由于介質產生較急的湍流,會造成密封件的振動,使密封材料出現疲勞破壞。新型結構中由于金屬閥座環凸緣的保護,軟密封環不會受流體的沖刷,不易損壞。
對于夾帶固體顆粒的流體介質,軟閥座閥門的密封結構更為重要。這主要是因為介質中夾帶有固體顆粒時,極容易卡在閥瓣和閥座的密封面之間,妨礙了閥座的密封,會引起泄漏,繼而由于介質的高速沖刷而使閥座表面被沖蝕破壞。對于上述具有二 關閉作用的軟閥座密封結構(圖6),即使出現了這種顆粒卡在閥瓣和閥座金屬密封部位之間,也不會有什么危害,因為還有閥瓣和軟閥座之間的密封,仍能起到可靠有效的補充密封作用。
隨著閥門產品苛刻的使用條件不斷增強,對閥門結構設計的要求也不斷提高,同時也促進了工程材料的發展。由于對閥門各種特殊需求,要求生產廠家不斷地研制出新型的密封部件,以滿足現代工業發展的需要。新型單座調節閥軟密封結構設計可以成功地應用在口徑為25㎜以上的閥門,壓力降可以達到30MPa,具有防火 ,密封可靠,裝配、拆卸和維修方便等特點,值得廣泛推廣和應用。
希望上面的分析的故障原因和解決措施能幫到你們,我們雷力(蘇州)閥門有限公司始終致力于成為全套(調節閥)閥門解決方案提供商,涉及空氣、水、蒸汽、各種腐蝕性介質、泥漿、油品等工況配套調節閥,為客戶提供電動單座調節閥、氣動單座調節閥、氣動薄膜單座調節閥、氣動薄膜套筒調節閥、自力式套筒調節閥等調節閥,用實力贏得了寶鋼、太鋼、武漢重工鍛造、包鋼、泰鋼等國內知名企業的信任,并 高效的使用在客戶現場。
同類文章排行
- 雷力科普精小型電動執行機構普通防爆調節型精巧型執行器AC220V
- 一文讀懂!調節閥選型時您需要提供哪些參數給閥門廠家?
- ZDLM電動套筒調節閥的S型流道設計:為何壓降損失更小?
- 探究雷力ZDLP電動單座調節閥外形尺寸的影響要素
- 第26屆中國環博會開展首日,流量調節閥廠家雷力閥門展位人氣爆棚
- 這4類雷力調節閥,你用過幾種?
- 雷力小流量調節閥與執行器的匹配原則
- 一篇文章帶你了解雷力氣動單座調節閥
- 電動單座調節閥:壓差小、介質粘度高或含少量雜質工況的理想選擇
- 雷力直行程調節閥,工業工況的“適配王”






